直接式離心泵輸送高溫、結晶介質的故障分析及解決方法
直接式離(li)心泵輸送高溫、結晶介質(zhi)的(de)故障分析及解(jie)決方法(fa)
朱 學 強(qiang)
摘要:介(jie)(jie)紹(shao)直(zhi)接(jie)式(shi)離(li)心泵在輸(shu)送高(gao)溫(wen)(wen)、結(jie)晶類介(jie)(jie)質(zhi)(zhi)時出現的故障(zhang),分析(xi)故障(zhang)產(chan)生(sheng)的原因,對泵結(jie)構進行了(le)改進,主(zhu)要是防(fang)止高(gao)溫(wen)(wen)介(jie)(jie)質(zhi)(zhi)熱傳遞(di)給(gei)電機(ji)及介(jie)(jie)質(zhi)(zhi)在機(ji)封處(chu)結(jie)晶,使直(zhi)接(jie)式(shi)泵的故障(zhang)得以解決。
Abstract: To analyze the failure of direct centrifugal pump in conveying high temperature and crystallizing medium, so as to improve the structure of the pump. It is mainly to prevent the heat transfer from the high temperature medium to the motor and the crystal in the seal of the machine, so that the failure of the direct pump can be solved.
關鍵詞:直接式泵 高溫 結晶(jing) 電機過(guo)熱 機封故(gu)障
引言
生產(chan)制程(cheng)過(guo)程(cheng)中(zhong)往往需要輸(shu)送(song)(song)高溫(wen)、結(jie)晶(jing)、腐(fu)蝕性(xing)介質,本文對(dui)直接式離心(xin)泵輸(shu)送(song)(song)該類介質出現的故障進(jin)行(xing)了分析(xi),并對(dui)結(jie)構進(jin)行(xing)了相應改進(jin)。
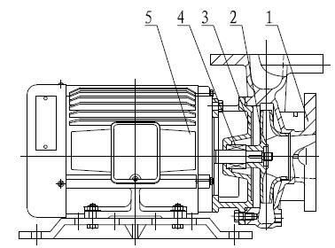
直接(jie)式離心泵(beng)(beng)的電(dian)機(ji)與(yu)泵(beng)(beng)共軸,葉(xie)輪直接(jie)安裝于電(dian)機(ji)加長軸上,中(zhong)承(cheng)座連接(jie)泵(beng)(beng)體與(yu)電(dian)機(ji),內(nei)裝機(ji)械(xie)密封。該類型(xing)泵(beng)(beng)性(xing)能可靠,生(sheng)產成(cheng)本(ben)低(di),目(mu)前國內(nei)外使(shi)用最為廣(guang)泛。直接(jie)式離心泵(beng)(beng)的結構如圖1所示。

1-泵體(ti) 2-葉輪 3-中承(cheng)座 4-機械密封 5-電機
圖1 直接式(shi)離心泵結(jie)構圖
1 故障(zhang)現象及原因分析
立敦電(dian)(dian)子科技(阿壩州)有限公(gong)司生產(chan)制造鋁電(dian)(dian)解電(dian)(dian)容器的原材料,其制程過程中需輸(shu)送(song)(song)高溫(wen)、結晶、腐蝕性介(jie)(jie)(jie)質(zhi)(zhi)(zhi)(zhi),使用(yong)直接(jie)式(shi)離心泵(beng)(beng)進行介(jie)(jie)(jie)質(zhi)(zhi)(zhi)(zhi)輸(shu)送(song)(song)。投(tou)用(yong)后(hou)不久出現泵(beng)(beng)異常(chang)報警,電(dian)(dian)機溫(wen)升過高,機械密封(feng)失效泄漏(lou),并且泄漏(lou)介(jie)(jie)(jie)質(zhi)(zhi)(zhi)(zhi)進入(ru)電(dian)(dian)機,介(jie)(jie)(jie)質(zhi)(zhi)(zhi)(zhi)帶腐蝕性,腐蝕損壞電(dian)(dian)機。拆(chai)解后(hou)發(fa)現輸(shu)送(song)(song)介(jie)(jie)(jie)質(zhi)(zhi)(zhi)(zhi)在機械密封(feng)彈簧處結晶。
首先(xian),直接式泵(beng)電機(ji)與泵(beng)共(gong)軸,泵(beng)輸送高溫介(jie)質,高溫介(jie)質隨電機(ji)加長(chang)軸熱(re)傳遞給電機(ji),電機(ji)不能及時散熱(re),引(yin)起電機(ji)溫升過高。
其次(ci),輸送介(jie)質(zhi)易結(jie)晶(jing),從(cong)拆解后情況(kuang)分析(xi),運(yun)行過(guo)程中介(jie)質(zhi)不斷在機封彈(dan)簧(huang)處(chu)結(jie)晶(jing),使彈(dan)簧(huang)失(shi)效(xiao),引起機械(xie)密封失(shi)效(xiao),泵泄漏。
2 改進措施及效果(guo)
基于上(shang)述原因(yin)分析,對泵提出(chu)如下(xia)改進方案。
1)中承座改進,設置水冷室(shi)
中承(cheng)座在電(dian)機與泵體(ti)之間設置(zhi)單(dan)獨腔體(ti),并(bing)安裝進水(shui)管與出水(shui)管,外接循(xun)環冷卻(que)清水(shui),使冷卻(que)清水(shui)從進水(shui)管進入(ru)水(shui)冷室,降低介質傳(chuan)遞給電(dian)機軸的溫度,再由出水(shui)管排出,帶(dai)走(zou)熱量,如圖2所示。

1-泵體 2-葉輪 3-機(ji)封(feng)壓(ya)蓋(gai) 4-機(ji)械密(mi)封(feng) 5-中承(cheng)座 6-電機(ji)
圖2 改進(jin)后直接式離心(xin)泵結構圖
2)機械密封安(an)裝于水(shui)冷室,不直(zhi)接與(yu)輸送介質接觸(chu)
機(ji)械(xie)(xie)密(mi)(mi)封安(an)裝(zhuang)于水(shui)(shui)冷室,并使用雙端(duan)(duan)面機(ji)械(xie)(xie)密(mi)(mi)封,一端(duan)(duan)密(mi)(mi)封水(shui)(shui)冷室與(yu)(yu)大氣壓,另一端(duan)(duan)配合(he)機(ji)封壓蓋安(an)裝(zhuang),密(mi)(mi)封水(shui)(shui)冷室與(yu)(yu)輸送(song)介(jie)質(zhi),如此機(ji)械(xie)(xie)密(mi)(mi)封彈簧(huang)位(wei)于水(shui)(shui)冷室,不與(yu)(yu)輸送(song)介(jie)質(zhi)接(jie)觸,如圖2所(suo)示。
泵改進完(wan)成后(hou)(hou),安裝于現場進行運轉試驗,8小時后(hou)(hou)測試電機(ji)前端蓋(gai),溫升正常,無電機(ji)過熱現象;1年后(hou)(hou)機(ji)械密(mi)封使用正常,無異常泄漏。
3 結論
如此改進,2012年以來,立敦電子科技(阿壩(ba)州(zhou))有(you)限(xian)公司(si)使用(yong)川源(yuan)(中國)機械有(you)限(xian)公司(si)改進后直接式離心泵(產品命名為GTS)200多臺,一直運行良好,無電機溫度過(guo)高及機械密封異常(chang)失效泄漏狀況,受(shou)到了用(yong)戶的認(ren)可(ke)。
參考文(wen)獻
[1] 關醒凡 現代(dai)泵理論(lun)與設計 北京:中國宇航出版社,2011:679-700.
[2] 范德明(ming) 工(gong)(gong)業(ye)泵(beng)選用(yong)手冊 北京:化學工(gong)(gong)業(ye)出版社,2008:13-57.

登錄
